24小时AI快讯 实时更新

聚合全平台资讯,带你了解最新的全球AI动态

2026-03-09
20:16
宇树科技联手香港大学研究院,成立具身智能联合实验室
IT之家 3 月 9 日消息,2 月 28 日,宇树科技与香港大学上海智能计算研究院在上海签署战略合作协议暨具身智能联合实验室正式揭牌。香港大学计算与数据科学学院院长马毅在致辞中指出,新成立的研究院将聚焦下一代白盒神经网络架构、世界模型等核心方向,面向通用机器人等应用场景开展系统性研究。他期待通过与宇树科技等企业的深度合作,推动中国的 AI 不光要跟上成为第一梯队,更要去引领,在屏幕后和屏幕外的领域真正定义未来的人工智能和物理智能体,把具身智能从热词转化为真正的生产力。IT之家从官方介绍获悉,宇树科技与港大研究院共建联合实验室,围绕环境感知-运动决策-实时控制-任务执行等关键闭环,推动前沿算法与真实机器人平台深度融合,加速具身智能技术从实验室走向规模化产业应用。双方将以 " 真实平台支撑前沿算法,学术创新赋能产业落地 " 为机制,构建从基础研究到场景验证的转化通道。宇树提供机器人本体与运动控制技术平台,为算法提供真实物理交互环境;研究院聚焦具身智能算法与系统架构创新,为硬件注入智能内核。通过联合攻关,加速突破环境感知、实时决策等关键技术,推动具身智能从实验室走向工业检测、服务陪伴等真实...
来源: IT之家4次阅读
宇树科技联手香港大学研究院,成立具身智能联合实验室
19:43
氪星晚报|国家超算互联网OpenClaw服务接入飞书、企业微信;WPS发布iPadOS首款原生桌面级Office;“红房子・启元”AI妇产科垂直大模型发布
大公司: 由菜鸟运营的全国首个跨境电商零售出口“前置监管仓”正式启用 36氪获悉,近日,由菜鸟运营的全国首个跨境电商零售出口“前置监管仓”在山东威海正式启用,服务于速卖通平台。在与海关部门深度协同下,海关监管首次深度嵌入电商仓库生产作业流程,出口货物通关实现秒级申报放行,就地装箱后当晚即可搭乘班轮出海。 国家超算互联网OpenClaw服务接入飞书、企业微信 36氪获悉,国家超算互联网宣布,其OpenClaw服务已打通飞书、企业微信。用户可根据任务规模,灵活选择多种模型API调用服务,并接入飞书、企业微信客户端使用。目前,超算互联网OpenClaw已预置各类大模型(如MinMax-M2.1、MinMax-M2.5、Qwen-235B等),以提供高性能、低成本的推理算力。 光洋股份:与逐际动力签署战略合作协议,致力于一体化关节模组的标准化开发 36氪获悉,光洋股份公告,公司与深圳逐际动力科技有限公司签署《战略合作协议》,双方拟整合资源,优势互补,致力于一体化关节模组的标准化开发。合作产品:包括但不限于轴承,齿轮、减速机、驱动器等关键零部件以及一体化关节模组设计的开发...
来源: 36kr3次阅读
10:45
短剧产业,“困”在红果里
开年3月份,短剧行业一则消息传出:多家短剧承制方被红果取消了保底机制,尤其是一些中小承制方,平台开始大程度地保留头部精品项目,还有中小承制方称,团队在春节前就被通知“停止选本”。短剧在互联网才热闹了两三年,这无异于“晴天霹雳”。社交媒体上也有不少行业人士吐槽:“才吃上饭,锅就被砸了。”“今年公司项目至少砍了一半”甚至有承制方表示,“按照现在的形式,后面就算继续开放,平台最多就是出剧本,制作方自行投资,自负盈亏。”据悉,截至2025年,红果已与600余家内容机构建立合作。为什么会出现这种变动?当前行业归纳的理由主要有两条,一方面,过去两年真人短剧蛮荒增长,产量虽高,但质量与收益却严重失衡;另一方面,漫剧兴起,直接冲击内容成本,红果此举或许是为了押注AI短剧。无论出于哪种目的,背靠字节跳动的完整生态,手握抖音流量、番茄 IP、豆包与 Seedance AI三重加持,红果早已坐稳短剧赛道头部。它在内容赛道日渐外放的“强势”,值得整个行业乃至互联网全域注意:或许,一个牢牢掌控短剧入口的流量帝国,正在显露峥嵘。承制方“濒危”“做短剧两年了,但现在这个风头,再不转型就晚了。”短剧赛道出身的张苗(化...
来源: TechWeb6次阅读
短剧产业,“困”在红果里
2026-03-06
09:26
阿里重校AI准星:修剪盆景,为了森林
关于阿里通义千问“变阵”与核心人物离职的猜测,正因一封内部信的曝光而逐渐清晰。3月4日凌晨,阿里Qwen团队技术负责人林俊旸突然在社交媒体宣布离职,在行业引发广泛关注和热议。次日上午,阿里CEO吴泳铭发出内部信,这封不足200字的邮件,以简洁、直白的措辞回应了这场风波。随着这封内部信的流出,此前围绕通义千问及其核心人物的种种传闻被逐一校正。信中没有常见的“个人原因”式的模糊表述,而是明确批准林俊旸辞职、宣布成立基础模型支持小组、重申开源策略不变。吴泳铭并表示,将持续加大AI研发投入和吸纳优秀人才的力度。穿透这封信的表层文本,是一场看似突然的告别,被还原为技术理想、组织扩张与战略定力之间的多维博弈。离职真相阿里内部信明确传递出了三点信息。首先,林俊旸离职已成定局。此前有消息称,阿里巴巴高层还在和林俊旸密切沟通中,林俊旸是否确认离开还未可知。但在这封致“各位通义实验室同学”、落款为吴泳铭的内部邮件中,明确表示“公司已决定批准林俊旸同学的辞职”,且阿里云CTO周靖人会“继续带领通义实验室推进后续工作”。其次,阿里表态会坚持开源模型的战略方向不动摇——这是最关键的定调,也是阿里给市场吃下的一颗...
来源: TechWeb11次阅读
阿里重校AI准星:修剪盆景,为了森林
2026-03-05
16:15
阿里CEO官宣林俊旸离职,谷歌、智谱们公开“抢人”
【TechWeb】3月5日消息,持续震荡两日的阿里千问团队人事变动迎来关键进展,阿里巴巴CEO吴泳铭通过内部邮件正式批准林俊旸辞职,并宣布成立基础模型支持小组,强化集团层面的资源协调。与此同时,智谱AI、谷歌DeepMind等竞争对手已公开向离职团队伸出橄榄枝。一场围绕顶尖AI人才的争夺战打响。阿里CEO发信:批准离职3月5日上午,阿里巴巴CEO吴泳铭向通义实验室全体员工发布内部邮件,首次就林俊旸离职事件作出正式回应。邮件全文如下:各位通义实验室同学:公司已决定批准林俊旸同学的辞职,感谢林俊旸过去在岗位上的付出。靖人会继续带领通义实验室推进后续工作。同时公司将成立基础模型支持小组,由我,靖人,范禹共同协调集团资源支持基础模型建设。技术发展不进则退。发展基础大模型是我们面向未来的关键战略,我们将在继续坚持开源模型策略的同时,持续加大对人工智能领域的研发投入,加大吸纳优秀人才的力度,我们一起加油。吴泳铭2026年3月5日这封邮件释放了几个关键信号:一是官方确认林俊旸离职;二是明确周靖人继续带队;三是成立由吴泳铭、周靖人、范禹组成的“基础模型支持小组”,将千问从实验室项目提升至集团战略高度。...
来源: TechWeb7次阅读
阿里CEO官宣林俊旸离职,谷歌、智谱们公开“抢人”
10:04
修一次3万块,“机器爹看病”比人还贵
把自己斥资20万购买的消费级人形机器人送到维修处10天后,张先生收到了取机通知。账单上写着:总费用3万元——其中,模组材料费2.8万,工时与校准费2000元。10天前,机器人在家中过门槛时摔倒,扶起来后,它还能走,但步态变了——每迈一步都会颤抖,且身体不自主向一方倾斜,像一个中风后遗症患者。返厂检测发现,摔倒导致机器人髋关节谐波减速器发生了微米级形变——肉眼不可见,却足以让步态控制参数全线偏移。维修方案是更换整个髋关节模组。新模组装花了3天,真正的挑战在后面:工程师用激光跟踪仪扫描全身关节点,完成精度补偿,之后反复调试步态算法。这个过程花了7天。3万块,够买一辆五菱宏光MINI EV的入门版。而在机器人世界里,这只是换一个关节的价格。过去一年,全球共卖出1.8万台人形机器人,跳着舞蹈的机器人出现在各种会议和演出现场。2025年前三个季度,机器人相关产业融资达到600多起,当资本狂热涌入,一个庞大的“后市场”正在悄然形成。每一台卖出的人形机器人,都在为这个市场增加一个潜在客户。只是眼下,能接住这门生意的“机器人医生”还寥寥无几。专业的维修技师比机器人本身更难找,原厂架构、配件渠道尚未开放...
来源: TechWeb8次阅读
修一次3万块,“机器爹看病”比人还贵
09:50
低调布局“找房”,美团盯上了房地产生意
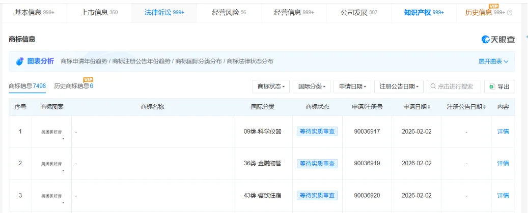
“万物皆可拼”的风潮,还是从外卖吹到了房地产。天眼查显示,美团关联公司北京三快科技有限公司已申请注册3枚“美团拼好房”商标,分类涵盖科学仪器、金融物管、餐饮住宿,目前均为“等待实质审查”。其中,“拼”这一个字,便引发了外界的无限猜想:从“拼好饭”到“拼好房”,难道美团是想用外卖的逻辑来做房地产业务?事实上,早在十多年前,百度、阿里、京东、字节等互联网巨头也曾尝试布局房地产服务领域,但均没能带来太多水花。美团姗姗来迟,是找到了能在房地产领域发力的细分切口,还是迫于本地生活的竞争压力,着急开辟新的业务飞轮?“拼好房”到底是锦上添花,还是雪中送炭?美团早就盯上“找房”美团此次申请“拼好房”商标,并非心血来潮,其对房地产服务的探索早已有迹可循。2024年6月,美团民宿率先试水,在全国40余座城市上线租房服务,主打按天计费的灵活租赁模式。这一打法颇为巧妙,虽然名为“租房”,但美团提供的并非传统意义上的房屋直租,更像是将民宿产品“包装”成出租房源,类似AirBnb的民宿出租。2025年初,外界传出美团跨界房地产服务的声音;到2025年底,美团悄然上线了“美团找房”功能,主要包括租房与二手房交易两大...
来源: TechWeb7次阅读
低调布局“找房”,美团盯上了房地产生意
2026-03-04
16:32
两会AI建言:雷军、周鸿祎等代表委员热议算力、智能体与安全治理
【TechWeb】3月4日消息,随着大模型技术的快速迭代,如今人工智能早已不是科技概念,而是渗透我们衣食住行的“日常标配”。今年两会,“AI”再度成为与会代表委员关注的热点。从技术底座、产业落地、安全治理到人才伦理,各界代表委员围绕AI高质量发展提出了一系列针对性建议,下面就让我们一起看一看。算力、芯片与智能体夯实算力与技术基础是AI发展的前提,围绕芯片、推理算力以及智能体,代表委员均提出了相关建议。上海市政协委员、上海兆芯集成电路股份有限公司董事长叶峻指出,在AI算力需求爆发的背景下,需高度重视并加速推进国产CPU产业化,以筑牢AI算力底座,保障算力系统的稳定性与供应链安全。CPU在AI算力体系中扮演“总指挥”和“调度中心”的核心角色,负责任务调度与数据预处理,其战略地位正随着国际最新架构配置比例提升及在具身智能等领域作用凸显而持续攀升。叶峻表示,当前我国算力基础设施规模虽居世界前列,但服务器CPU领域“卡脖子”风险未除,在国际巨头产能告罄、价格上调的背景下,保障供应链安全的紧迫性日益凸显,而现有政策对国产化服务器CPU的采购支持力度尚不足以满足激增需求。叶峻建议,通过加大资本支持、...
来源: TechWeb7次阅读
两会AI建言:雷军、周鸿祎等代表委员热议算力、智能体与安全治理
2026-03-03
2026-03-02
2026-02-28
2026-02-27
11:42
三巨头的45亿红包,隐藏着AI战争的资本公式
2026年的春节,AI 战争的炮火从央视春晚的主舞台,一路蔓延到四大卫视的荧屏,最终渗透进每一个微信群的对话框里。为了打赢这场战争,巨头们投入巨大。据不完全统计,字节跳动、阿里巴巴、腾讯三家巨头在这个马年春节,砸向AI应用的红包及福利总额超过45亿元,泼天的红包雨,几乎成为春节的全民狂欢。当千问APP的服务器在天量奶茶订单洪流中多次卡顿,当微信群里“元宝派红包”链接如病毒般扩散,当央视春晚主持人引导全国观众“用豆包AI参与互动”。这让人想起2015 年的那场红包大战。那场刻在互联网历史上的战争,以前所未有的规模和趣味性,在短时间内让数亿用户,包括此前未接触移动支付的人群,完成了绑卡、支付、提现等操作,实现了全民移动支付启蒙,中国移动支付交易规模从2014年的22.6万亿元,十年间暴涨到2024年的563.7万亿元,社交电商、本地生活服务(如美团、滴滴)的爆发都有赖于此,其深远影响持续至今,可谓移动互联网革命的“奇点”。十年后,当年战争的发起者试图复刻同样的传奇,但这次,战局各方的心态与十年前完全不同。当时的腾讯有微信增速势能,又有春晚主场优势,重兵投入,志在必得,这次只能算是仓促应战,...
来源: TechWeb6次阅读
三巨头的45亿红包,隐藏着AI战争的资本公式
上一页156575859下一页第 2851–2900 条,共 2909 条